專案

一般

配置概況

動作

Bugs #11665

進行中

WEB【通知管理】告警通知編輯後沒有生效

由 Simon Chiu 於 1 天 前加入. 於 1 天 前更新.

狀態:
待測試
優先權:
正常速度
被分派者:
開始日期:
2026/03/26
完成日期:
完成百分比:

10%

預估工時:

概述

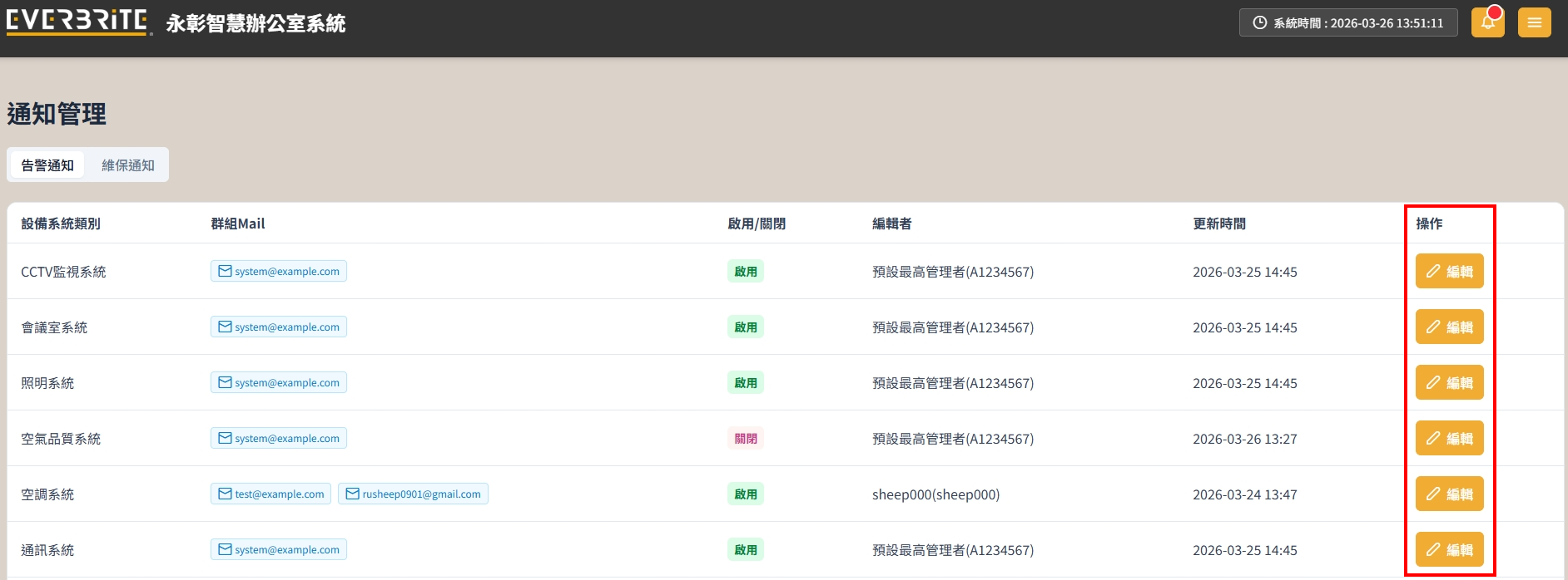
位置
通知管理_告警通知

測試帳號
A1234567

操作
1.照明系統點選編輯
2.群組Mail新增測試用mail
3.狀態改為關閉
4.點選確定更新

情況
正確要更新為修改後狀態並且在群組mail欄位新增測試mail
目前情況是修改都沒有生效(更新時間也沒有更新)


檔案

clipboard-202603261351-zw5mj.png (285 KB) clipboard-202603261351-zw5mj.png Simon Chiu, 2026/03/26 上午05:51

由 Rick Huang 於 1 天 前更新

  • 被分派者Rick Huang 變更為 Rusheep Chen

由 Rusheep Chen 於 1 天 前更新

  • 狀態新建立 變更為 待測試

由 Rusheep Chen 於 1 天 前更新

  • 完成百分比0 變更為 10
動作

匯出至 Atom PDF